ZFB型防閉塞裝置
一、結構及工作原理
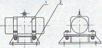
ZFB系列防閉裝置的結構如圖1所示。由振動電機(1),底座(2)兩部分組成。振動電機和底座由螺栓緊密地固定為一體。由于底座緊固地安裝在料倉壁上,這樣就構成了單質點定向強迫振動系統。當防閉塞裝置工作時,振動電機的高速轉動,便產生了對料倉壁的周期性高頻振動,由于防閉塞裝置的周期性振動,一方面使物料與倉壁脫離接觸、消除物料與倉壁的摩擦,另一方面使物料受交變速度和加速度的影響,處于不穩定狀態,從而有效地克服物料的內摩擦力和聚集力,以消除料倉內物料間的相對穩定性,使物料從料倉口順利排出。

二、用途及特點

ZFB系列防閉塞裝置是以振動電機為激振源的節能通用型產品,它是靠高頻振動和沖擊力,有效紹消除由于內磨擦、潮解、帶電、成分偏析等原因而引起的架橋、搭拱、堵塞現象,從而使物從料倉口順利排出,保證穩定供料所必需的設備。zFB系列防閉塞裝置廣泛應用于冶金、化工、建材、火電、煤炭、食品、水泥、制藥、化肥、糧食、鑄造、陶瓷、磨料等行業中貯料倉的防閉塞之用。
ZFB系列防閉塞裝置具有體積小、重量輕、高效節能、安裝簡單等特點。

一、結構及工作原理
ZFB系列防閉裝置的結構如圖1所示。由振動電機(1),底座(2)兩部分組成。振動電機和底座由螺栓緊密地固定為一體。由于底座緊固地安裝在料倉壁上,這樣就構成了單質點定向強迫振動系統。當防閉塞裝置工作時,振動電機的高速轉動,便產生了對料倉壁的周期性高頻振動,由于防閉塞裝置的周期性振動,一方面使物料與倉壁脫離接觸、消除物料與倉壁的摩擦,另一方面使物料受交變速度和加速度的影響,處于不穩定狀態,從而有效地克服物料的內摩擦力和聚集力,以消除料倉內物料間的相對穩定性,使物料從料倉口順利排出。

二、用途及特點

ZFB系列防閉塞裝置是以振動電機為激振源的節能通用型產品,它是靠高頻振動和沖擊力,有效紹消除由于內磨擦、潮解、帶電、成分偏析等原因而引起的架橋、搭拱、堵塞現象,從而使物從料倉口順利排出,保證穩定供料所必需的設備。zFB系列防閉塞裝置廣泛應用于冶金、化工、建材、火電、煤炭、食品、水泥、制藥、化肥、糧食、鑄造、陶瓷、磨料等行業中貯料倉的防閉塞之用。
ZFB系列防閉塞裝置具有體積小、重量輕、高效節能、安裝簡單等特點。






