XHQ系列氣動弧門卸料器

一、用途
XHQ系列氣動弧門卸料器是國內近年來發展起來的一種新型卸料設備。它廣泛應用于煤炭、電力、化工、建樹、冶金、礦山、食品、糧食、醫藥、交通運輸等部門的散體物料的卸料。
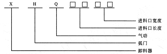
二、型號說明

三、特點
1、能自動開啟、關閉.啟閉方便、靈活、準確;
2、給料且可調,易于實現自動控制;
3、結構簡單*外形尺寸小*安裝操作簡便;運行可靠,維修方便;
4、重量輕,運行費用低,磨損小,噪音低;
5、安裝高度低,可取代料倉錐體或部分錐體,不需要基礎。
6、工作安全可靠,不受失電的影響。
四、結構及外形
XHQ系列氣動弧門卸料器的結構示意圖見圖一;外形尺寸見表一。

五、主要技術參數

六、氣動弧門卸料器的控制
該卸料器通過水銀開關或行程開關實現氣路的遺、斷;通過限位擋塊實現弧門的開啟、閉合位置;通過調節定位銷軸在銷軸板上的位置實現弧門開啟的大小,從而實現卸料量的調節。
七、維護
該卸料器正常情況下穩定可靠,維修量很少,只需定期向各轉動部件內加潤滑脂即可;當運行一段期限后進行設備大修時 將各處軸套拆開進行清理,磨損嚴重的進行更換即可。

一、用途
XHQ系列氣動弧門卸料器是國內近年來發展起來的一種新型卸料設備。它廣泛應用于煤炭、電力、化工、建樹、冶金、礦山、食品、糧食、醫藥、交通運輸等部門的散體物料的卸料。
二、型號說明

三、特點
1、能自動開啟、關閉.啟閉方便、靈活、準確;
2、給料且可調,易于實現自動控制;
3、結構簡單*外形尺寸小*安裝操作簡便;運行可靠,維修方便;
4、重量輕,運行費用低,磨損小,噪音低;
5、安裝高度低,可取代料倉錐體或部分錐體,不需要基礎。
6、工作安全可靠,不受失電的影響。
四、結構及外形
XHQ系列氣動弧門卸料器的結構示意圖見圖一;外形尺寸見表一。

五、主要技術參數

六、氣動弧門卸料器的控制
該卸料器通過水銀開關或行程開關實現氣路的遺、斷;通過限位擋塊實現弧門的開啟、閉合位置;通過調節定位銷軸在銷軸板上的位置實現弧門開啟的大小,從而實現卸料量的調節。
七、維護
該卸料器正常情況下穩定可靠,維修量很少,只需定期向各轉動部件內加潤滑脂即可;當運行一段期限后進行設備大修時 將各處軸套拆開進行清理,磨損嚴重的進行更換即可。


